- 专题资料:
- 哈工大深圳研究生院
- 专题制作:
- 国家材料环境腐蚀平台
联系我们
-
-
电话: 010-82387968 -
邮箱: shujushenqing@126.com -
地址: 北京市海淀区学院路30号 -
邮编: 100083
- 适用于制造热喷涂涂层耐腐蚀的铁基非晶态金属的组合物
US 8524053 B2
该专利为一种表面涂覆的方法,该涂层包括提供的无定形金属的来源,该无定形金属源包含锰(1至3原子%),钇(0.1〜10原子%)和硅(0.3〜3.1原子%);和包含以下要素,在括号中给出的规定范围的成分:铬(15〜20原子%),钼(2〜15原子%),钨(1〜3%(原子)),硼(5〜16原子%),碳(3〜16原子%),其余为铁;和通过喷雾将所述无定形金属到表面上。
参照附图,对该专利提供具体实施例的详细信息的描述。下列详细描述用于解释该专利的原理。该专利易于作出修改和替换形式。该专利并不限于所公开的特定形式。该专利覆盖所有修改,等同物和替代物由权利要求书所限定的该专利的精神和范围内。
![6746[4KFQ9Z8Z80A]0KFOML.png](/topic/d/file/hitsz/zljd/2016-05-30/38a9c4bdc716a729e92a1291653feed1.png)
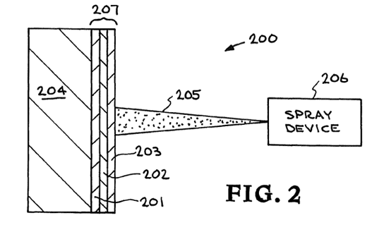
图一 展示出一个该发明专利的一个系统的实施案例
101-耐腐蚀无定形金属,通过喷涂形成,同时也位于103的表面。102-耐腐蚀无定形金属,通过喷涂102才能够形成覆盖膜101。103-结构104的表面,通过喷涂设备105的作用,涂覆102,使101在103的表面上形成。涂层101由含有特定范围的元素组分的无定形金属元素组成。
该无定形金属源包含锰(1至3原子%),钇(0.1〜10原子%)和硅(0.3〜3.1原子%);和包含以下要素,在括号中给出的规定范围的成分:铬(15〜20原子%),钼(2〜15原子%),钨(1〜3%(原子)),硼(5〜16原子%),碳(3〜16原子%),其余为铁;和通过喷雾将所述无定形金属到表面上。
优点:该专利可用于金属-陶瓷装甲,炮弹,炮膛,坦克装载托盘,轨道炮,无磁性船体,舱口盖,密封件,螺旋桨,舵,飞机,船舶,等等一系列的运用。这样的材料还可以用于完全覆盖在传输容器的外表面,或者是覆盖在长期高辐射消耗的储存材料的外表面。所以该发明可以通过覆盖一层薄膜来避免器件曝光在环境中可能造成的应力腐蚀裂纹。将来完全有可能用这样高性能的铁基材料去替代昂贵的镍基材料,因为在各种各样的工业应用中,都可以节约成本。
下列的图二,和图三中的其他实施案例不再赘述,如果有兴趣的朋友可以参考该专利中详细的叙述。

图二 该发明专利的另一个实施案例
![RDC4I2SRUL`O9I]UWTAD55T.png](/topic/d/file/hitsz/zljd/2016-05-30/8a92ebff510f979e1beeff50762ee229.png)

图3A和3B 关于该专利的另外的一些的实施案例