- 专题资料:
- 哈工大深圳研究生院
- 专题制作:
- 国家材料环境腐蚀平台
联系我们
-
-
电话: 010-82387968 -
邮箱: shujushenqing@126.com -
地址: 北京市海淀区学院路30号 -
邮编: 100083
- 电化学传感器
US20120064632 电化学传感器
本发明是一种电化学传感器,含有实心固体导电衬底,对检测物品具有结合亲和力的复合物固定在衬底上面,此复合物还基于检测物进行了修改,可以展示电化学性能,使固定在上面的分析物能通过电化学性能测量,例如伏安法。
固定的复合物同时包含拥有结合亲和力分析物的第一部分和单独的第二部分,它们是一个氧化还原系统,当第一部分结合分析物时,它的电化学氧化/还原性能被修改。分析物结合部分可以是二醇或多元醇,优选为糖。
特点:该电化学传感器的使用于储存器和处理液的分析,特别适用于在地下位置的测量。此电化学传感器可以是一个井下工具的一个组成部分,适于部署井下。
![JRAF_6}FUKFE%{]725ORI3H.png](/topic/d/file/hitsz/zljd/2016-05-31/5c086c18df168604942e164f470e211c.png)
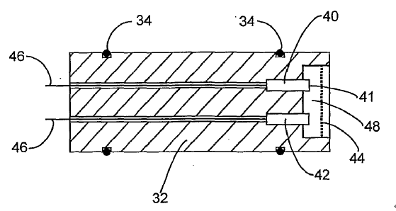
图1传感器横截面图
图为此发明传感器的横截面,32为主体部分,是由绝缘材料构成的圆柱体。主体32的设计涉及到钻井孔工具里面圆柱形谐振腔,被两个密封垫34环绕密封。主体32支撑工作电极40和辅助电极42,两电极通过导体46实现电学连接,电极40提供导电衬底,对分析物具有结合亲和力的有机的化学化合物固定在表面41,它们是一个氧化还原系统,当复合物结合分析物时,它的电化学氧化/还原性能被改变,按照本发明的需要。表面41和辅助电极42的端部被暴漏在空腔48内,在主体32的端部。多孔屏蔽44允许流体进入腔48,并保护电极不受冲击破坏。