- 专题资料:
- 哈工大深圳研究生院
- 专题制作:
- 国家材料环境腐蚀平台
联系我们
-
-
电话: 010-82387968 -
邮箱: shujushenqing@126.com -
地址: 北京市海淀区学院路30号 -
邮编: 100083
- 使用的数字化X光片检查管道的方法和设备
US
本专利是一种采用非破坏性测试评价管道腐蚀装置和方法,基于X射线成像原理,再以计算机处理计算腐蚀程度,增加友好的窗口式交互页面,能精确地测量管道腐蚀/侵蚀程度。
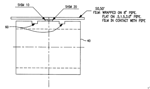
如下图所示,两透度计垫片附着到待测管道外表面腐蚀区域附近。
![M]5%%ZW@DS}JGRF8F16IZ3M.png](/topic/d/file/hitsz/zljd/2016-06-07/f582846421c573dce6ec42e78cf5089f.png)

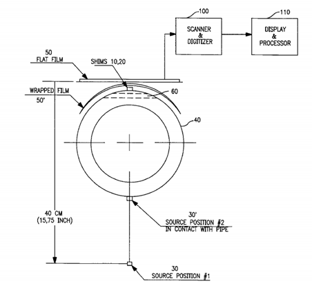
然后如下图装置所示,通过一个X射线源和一个感光片,生成管道中腐蚀区域的X光片。

射线照片随后被数字化并输入到计算机中。

然后计算机操作者(用户)可使用诸如键盘之类的设备,将管道的测得直径、垫片厚度等参数输入,也可使用诸如键盘或者鼠标等设备来切换感兴趣的测量区域。所有用操作阶段均由图形用户界面驱动,在Windows环境运行引导。当所需数据全被输入到程序后,光标选取区域的腐蚀程度将显示在屏幕上。此外管道的剩余壁厚也会显示给操作者。
![$IH}I]$QCN3LEIVL[T4AQ6V.png](/topic/d/file/hitsz/zljd/2016-06-07/45b92a4de73c280ba045a2f1fccd0bc0.png)
![P(~ZGDZVF]8MBL~]~%6{XA6.png](/topic/d/file/hitsz/zljd/2016-06-07/5e2ac2adf8852e79f4a7228811393b07.png)
优点:
1. 用户可通过交互页面输入参数与获取结果,直观、方便。
2. 测量方式为非破坏性,并可通过鼠标等装置切换探测区域内范围内感兴趣位置。
3. 可同时测出管的剩余厚度。
缺点:
单组垫片探测范围有限,需要事先确定大致的腐蚀位置。