- 专题资料:
- 哈工大深圳研究生院
- 专题制作:
- 国家材料环境腐蚀平台
联系我们
-
-
电话: 010-82387968 -
邮箱: shujushenqing@126.com -
地址: 北京市海淀区学院路30号 -
邮编: 100083
- 利用脉冲检测涡流方法及装置
US 7005851 B2
在多种应用里正常运行的脉冲涡流传感器中,通过多项式曲线拟合脉冲涡流电流响应数据可提供在典型预期条件范围内的良好拟合数据已被经验论证。更特别的是,传感器提离、样品的磁导率、导电性和厚度条件等数据在典型预期范围的具有更好的拟合也已被发现。因此,本文所述的一种技术方法利用物理方式间接测量某金属被测体的一个或多个测量/对象参数。
本发明针对金属探测对象,提供了至少可测量一类对象属性的方法。该方法主要利用脉冲信号发射机在金属物体的壁上产生一个时变涡流来实现。进一步的方法还包括调节时变涡流,利用参数多项式对时变涡流进行拟合,并由参数多项式的结构来确定该金属被测体一个或一个以上的测量属性。其流程程序框图如图1所示。

图 1 本发明的流程设计框图
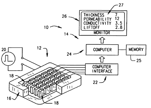
本发明设计结构的各装置示意图如图2所示,图3是图2中涡流检测仪的局部结构放大示意图:

图 2 本发明设计结构的各装置示意图

图 3 涡流检测仪的结构放大示意图
本发明的部分结构通过测得的已知样本响应数据,利用曲线的系数拟合出一个有关厚度、透气性、导电性和提离等系数的非线性传递函数。随后的针对上述物理参数未知的样品的测量中,测量并参数化该样品的脉冲涡流电流响应。结合上一步计算的传递函数和拟合系数即可估计样品的物理参数和传感器提离情况。本发明的各种配置提供了一种用于估计金属对象的至少一个测量/对象属性的装置,该装置包括驱动线圈和用于激励驱动线圈的可操作脉冲发生器,发生器以脉冲方式向被检查金属物体发送一个瞬态电磁通量。该装置还包括至少一个可操作的传感器,用于检测和输出瞬态电磁流量对金属对象产生的时变涡流电流特征信号。还提供了一种可操作地耦合到传感器的处理器,该处理器被事先配置好,以根据测量得到的瞬态电磁流量所产生的时变涡流的特征输出信号,拟合出输出信号的参数化多项式,并解析参数化的多项式以确定金属测量对象的一个或多个测量属性。
本专利主要具有如下优点:
(1)本发明的各种配置可以准确估计传感器提离、样品磁导率、电导率和厚度等参数,即使在恶劣的条件或不确定的测量条件下。
(2)脉冲涡流测量的幅值将随着时间的推移达到零,因此多项式拟合参数化过程中不需要计算因变量的对数,这是很有利的。其结果也避免了在背景噪声存在下的计算不稳定性。放大器增益和电源变化的热漂移效应也被最小化。